Уточнюйте у менеджера, залежить від обсягу та умов постачання
Стандарт: ДСТУ 4178:2019 (ГОСТ 9072-82)
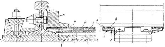
Тип виробу: Башмаки для стрілочного переводу
Матеріал: Сталь конструкційна 09Г2С, 35 або 40Х, гарячекатана, з термообробкою та антикорозійним покриттям (цинковим або лакофарбовим)
Технічні параметри:
Черевики для стрілочного перекладу - це елементи стрілочного обладнання, призначені для фіксації та упору рухомих частин перекладу (дотепників) у заданому положенні. Забезпечують стабільне та безпечне положення стрілки при проходженні рухомого складу, запобігаючи мимовільному зміщенню або розбіжності дотепників. Застосовуються в конструкціях стрілочних переказів усіх типів, що встановлюються на залізничних лініях загального та промислового користування.
Черевики стрілочні виготовляються за ДСТУ 4178:2019 (ГОСТ 9072-82) із високоміцної конструкційної сталі. Конструкція черевика включає корпус з опорною поверхнею, що спрямовує частину і фіксатор, що взаємодіє з підошвою та шийкою рейки. Черевики можуть бути знімними або стаціонарними, залежно від конструкції стрілочного перекладу. Робочі поверхні загартовані та оброблені підвищення зносостійкості.
Черевики для стрілочних перекладів застосовуються на магістральних, станційних та промислових залізничних лініях. Встановлюються в зонах примикання дотепників і рамних рейок, де забезпечують щільне прилягання дотепників при положенні стрілки. Використовуються в перекладах типів СПР-50, СПР-65, СПР-85 та аналогічних як у ручних, так і централізованих приводах. Також застосовуються при капітальному та поточному ремонті стрілочних переказів.
Переваги черевиків для стрілочних перекладів:
Пн–Пт 08:00 – 20:00